Page 65 - 电力与能源2024年第五期
P. 65

孙  琛,等:新一代集控系统一键顺控防误操作技术研究                                     597


























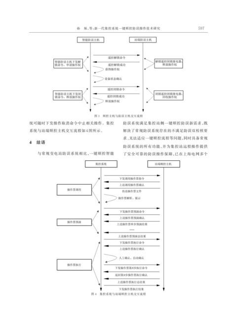
                                                  图 3 顺控主机与防误主机交互流程
                统可随时下发操作取消命令中止相关操作。集控                            防误系统满足集控站侧一键顺控防误新需求,既

                系统与站端顺控主机交互流程如 4 图所示。                            解决了常规防误系统存在的不满足防误双校核要
                                                                 求、无法适应一键顺控流程等问题,同时具备常规
                4 结语
                                                                 防误系统的所有功能,并为集控站远程操作提供
                    与常规变电站防误系统相比,一键顺控智能                          了安全可靠的防误操作保障,已在上海电网多个











































                                                图 4 集控系统与站端顺控主机交互流程
   60   61   62   63   64   65   66   67   68   69   70